Конструкція утепленої покрівлі — тришаровий «пиріг», який складається з нижнього (несучого) профнастилу, утеплювача (мінеральна вата) і верхнього зовнішнього покриття.
У випадку застосування як зовнішнього елемента профнастилу, фальцевих панелей або металочерепиці, така «утеплена» покрівля називається «жорсткою».
Рис. 1. «Тепла» покрівля — прогонна «жорстка»:
При конструктивному вирішенні утеплення покрівлі та покрівельної огороджувальної конструкції за прогонною схемою, зазначений тришаровий теплий «пиріг» укладається на покрівельні прогони, змонтовані на несучий каркас. Як покрівельні прогони компанія «Прушиньскі» рекомендує використовувати холоднокатані оцинковані Z-прогони.

Холоднокатані Z-прогони виготовляються з оцинкованої сталі марки S350GD + Z275 (згідно EN 10147/91). Конструктивні властивості і висока несуча здатність Z-прогонів дозволяє перекривати прольоти до 12 м. Завдяки високій якості цинкового покриття (275 г/м2 — 1-й клас оцинкування) Z-прогони не потребують додаткового захисту для застосування їх в неагресивному і слабкоагресивному середовищі.

Монтаж «теплої» прогонної покрівлі починається з установки покрівельних прогонів на ферми або балки. До несучих елементів легкі сталеві прогони кріпляться за допомогою гнутих кутників або кутників з гарячекатаної сталі (шпальників) через з’єднання під болт. Тип оцинкованих прогонів (Z або C), їх висота і товщина, а також їхній крок визначається згідно з проектом за допомогою каталогу «Таблиці навантажень Z- і C-прогонів», розробленого фахівцями компанії «Прушиньскі». У ньому наведені таблиці несучих властивостей для різних схем використання прогонів (одно-, двох- або багатопролітної схеми опирання) і детально описані методи підбору оптимальних варіантів використання легких сталевих Z-і C-прогонів.
Z-прогони кріпляться до кутників (шпальників) на болтах, а діаметр болта визначається проектом (найчастіше це болти М12 або М16). Установка Z-прогону може проводиться як верхньою полицею до конька, так і до карнизу і визначається проектним рішення і видом опорного столика (з «косинкою» або без).
Перфорація прогону під з’єднання під болт виробляється на заводі «Прушиньскі» згідно з кресленнями КМД, які виготовляють співробітники інженерно-технічного відділу нашої компанії.

Рис. 2. Кріплення легкого сталевого Z-прогону до опорного столика (вид зверху)
До оцинкованих прогонів кріпляться несучі профільовані листи (профнастили) Т40-Т92 широкими полицями догори. Профнастили кріпляться в кожну хвилю саморізами по металу. Утеплення покрівлі в «утепленій» жорсткій покрівельній конструкції найчастіше здійснюється за допомогою утеплювача щільністю близько 30 кг/м3. Монтаж нижнього листа профнастилу виконується широкими полицями вгору до утеплювача, що дає найбільшу площу опирання плитам або рулонам утеплювача, і не дає йому просідати, просідання утеплювача може привести до погіршення утеплення покрівлі. Висота профнастилу підбирається залежно від заданих проектом навантажень і кроку легких сталевих прогонів в “Інструкції з монтажу профільних листів”.

Рис. 3. Нижній профнастил покладений широкими полицями догори (позитив)
На профільовані листи укладається пароізоляційна плівка, стики якої необхідно проклеїти спеціальною клейкою стрічкою. Проклейка рулонів пароізоляції є обов’язковою для правильної роботи паробар’єру.

Рис. 4. Укладання паробар’єра на нижній профнастил
Після цього на металопрофіль, перпендикулярно скату, монтуються дистанційні (проміжні) Z-прогони товщиною t = 1,0; 1,25; 1,5 мм, в залежності від обраного кроку прогонів і від типу покрівельного (верхнього) профнастилу. Крок проміжних прогонів підбирають або ідентичним кроці несучих Z-прогонів, або кратне розміру утеплювача. Максимально-рекомендований крок дистанційних прогонів 1800 мм. Висота Z-прогону підбирається відповідно товщині шару утеплення.
Дистанційний легкий сталевий Z-прогон монтується до несучого (нижнього) листу оцинкованими саморізами по металу в кожну хвилю.
Дистанційний Z-прогон обов’язково монтується таким чином, щоб його верхня полиця була спрямована в бік конька (див. Рис. 1) або в упереміш (один до конька, а наступний до карниза і т.д.)

Рис. 5. Змонтований дистанційний легкий сталевий Z-прогон
По всій довжині дистанційного Z-прогону укладається самоклейка термопрокладка товщиною 5 мм і шириною 50 або 70 мм для усунення містка холоду та поліпшення якості утеплення покрівлі.

Рис. 6. Термопрокладка на верхній полиці проміжного прогону
Після цього укладають утеплювач. Вкрай важливо: товщина утеплювача повинна бути визначена теплотехнічним розрахунком і повинна бути ідентична висоті дистанційного Z-прогону.

Рис. 7. Утеплювач в “теплій” покрівлі
По поверхні мінеральної вати, паралельно лінії карниза, укладають супердифузійну мембрану з напуском (перенахлестом), ширина якого вказана на рулоні.

Рис. 8. Супердифузійна мембрана, укладена на утеплювач
Тип покрівельного (верхнього) профнастилу підбирається залежно від заданих в технічному проекті навантажень на покрівлю і від кроку дистанційних прогонів. Монтується покрівельний лист за допомогою саморізів по металу в кожну хвилю.

Рис. 9. Монтаж покрівельного профнастилу
У поздовжній замок, для поліпшення гідроізоляційних властивостей профнастилу, компанія «Прушиньскі» рекомендує встановлювати клейкий ущільнювач 3х10, і додатково кріпити замок саморізами по металу 4,8 х19 або 4,8 х20 через кожні 500 мм.

Рис. 10. Поздовжнє накладення покрівельного профнастилу

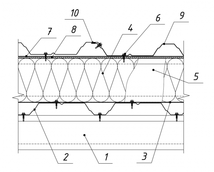
Рис. 11. Конструкція «утепленої» покрівлі — прогонна «жорстка»:
1 – легкий сталевий Z-прогон (t = 1,5 мм, 2,0 мм, 2,5 мм, 3,0 мм);
2 – несучий профнастил (Т40, Т57, Т60, Т92);
3 – пароізоляційна плівка;
4 – утеплювач;
5 – дистанційний (проміжний) Z-прогон;
6 – саморізи по металу (5,5 х25);
7 – супердифузійна мембрана;
8 – термопрокладка (5х50, 5х70);
9 – покрівельний профнастил (Т20К, Т35, Т40, Т57К);
10 – ущільнювач 3х10
Інженери компанії «Прушиньскі» при роботі з проектом допоможуть Вам підібрати переріз і тип несучих Z-прогонів, несучого і покрівельного профнастилів, зроблять розкладки і відомості матеріалів, необхідних для реалізації об’єкта.
У комплекті з прогонами і несучим профнастилом (у тому числі перфорованим) компанія "Прушиньскі" пропонує необхідні супутні матеріали для влаштування конструкції покрівлі: планки, утеплювачі, покрівельні плівки, саморізи, ущільнювачі, термопрокладки тощо.